[]
  •  

BULK Rectangle & Oval Custom Stickers or Magnets

Our custom stickers are a fast and easy way to promote your business, brand or event. Thick, durable vinyl protects your stickers from scratches, water, and 100% waterproof.

  • 4x2 Inch, 6x3 Inch, 8x4 Inch
  •  
  •  
  •  
  •  
  •  
  •  
  •  
  •  
  •  
  •  
  •  
  •  
  •  
  •  
  •  
  •  
  •  
  •  
  •  
  •  
  •  
  •  
  •  
  •  
  •  
  •  
  •  
  •  
  •  
  •  
  •  

64000 Intoxicating Single Side - Adult Softstyle Cotton T-Shirt

64000 Gildan Adult Softstyle Cotton T-Shirt
preshrunk 100% cotton jersey • 4.5-oz. • heathers 35% cotton/65% polyester • deluxe 30's Softstyle yarns • seamless double-needle 7/8" collar • taped neck and shoulders • rolled forward shoulders • double-needle sleeve and bottom hems • quarter-turned to eliminate center crease • Sizes: S-2XL, selected colors up to 3XL

  • Small, Medium, Large, X Large, 2X Large, 3X Large

Size Chart

Size S M L XL 2XL 3XL
Chest 36 40 44 48 52 56
Length 2658 2758 2858 2958 3058 33
Sleeve Length 15 1612 18 1912 2034 22
  •  

Birthday 5x7

Includes:
Design Edits
Brown Craft Paper Envelopes


5 x 7 inch Standard Size Vertical Invitation 
Signature Smooth Cardstock 110lb

Please fill in the details which you would like to present on your invitation.
You will be emailed a proof prior to production.

  •  

5x7 Wedding

Includes:
Design Edits
Brown Craft Paper Envelopes


5 x 7 inch Standard Size Vertical Invitation 
Signature Smooth Cardstock 110lb

Please fill in the details which you would like to present on your invitation.
You will be emailed a proof prior to production.

  •  

5x7 Graduation

Includes:
Design Edits
Brown Craft Paper Envelopes


5 x 7 inch Standard Size Vertical Invitation 
Signature Smooth Cardstock 110lb

Please fill in the details which you would like to present on your invitation.
You will be emailed a proof prior to production.

  •  

Float365 sticker & magnets

WATERPROOF VINYL STICKERS & MAGNETS

Our waterproof, fade resistant, die-cut decals and stickers are a great way to customize your stuff!
♦ tumblers
♦ phone or tablets
♦ water bottles
♦ vehicle windows
♦ vehicle body
♦ helmets
♦ coffee mugs
♦ ETC. wherever your creativity leads you...
Nearly anything with a clean smooth, non-porous surface. If you have a question where you can and can’t use them, contact me!

CUSTOMIZE: If you do not see a size suitable for your needs, send me a message! we can make it happen.

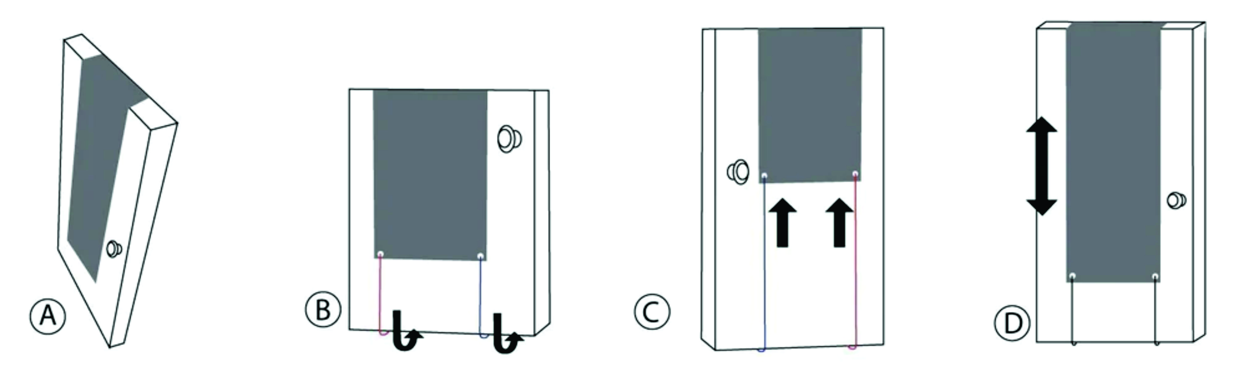
STICKER APPLICATION:
Clean the surface area with rubbing alcohol to remove any residue or debris.
Start be peeling back about a half inch of the paper backing. Place the free edge of the decal to your application area using your fingers or a squeegee to smooth down the edge.
Continue peeling back the paper while smoothing the down the decal. Should you encounter any bubbles, use a sharp pin or the point of an exact knife to poke a small hole in the bubble. Force the air out of the bubble with your finger. Decal can be removed clean but not re-used. Any adhesive residue left over after decal removal can be cleaned up with a small amount of rubbing alcohol or Goo-Gone.

  • Sticker, Magnet
  •  

Baby Shower 5x7

Includes:
Design Edits
Brown Craft Paper Envelopes


5 x 7 inch Standard Size Vertical Invitation 
Signature Smooth Cardstock 110lb

Please fill in the details which you would like to present on your invitation.
You will be emailed a proof prior to production.

  •  

Vertical Greeting Card

4 x 5.5 inch Standard Size Vertical Invitation 
Signature Smooth Cardstock 110lb

Envelope Included

  •  

Horizontal Greeting Card

4 x 5.5 inch Standard Size Vertical Invitation 
Signature Smooth Cardstock 110lb

Envelope Included

  •  

Wedding 5x7 Invite

Includes:
Design Edits
Brown Craft Paper Envelopes


5 x 7 inch Standard Size Vertical Invitation 
Signature Smooth Cardstock 110lb

Please fill in the details which you would like to present on your invitation.
You will be emailed a proof prior to production.

  •  

Fill In - Birthday 5x7

Includes:
Design Edits
Brown Craft Paper Envelopes


5 x 7 inch Standard Size Vertical Invitation 
Signature Smooth Cardstock 110lb

Please fill in the details which you would like to present on your invitation.
You will be emailed a proof prior to production.

  •  

Custom School Spirit Door Banner

PRINTED AREA 65x24 INCHES

Simple, Easy Install!

Hanging Instructions
We don't supply the apparatus to connect the banner ends, because everyone's door will be vastly different. It does come with grommets.

Here are some recommendations:
We suggest using very thin bungee cords, twine or a strong thin string through the grommets. You can even use a nice wide ribbon, if you want to dress it up a bit!

You might find some other product that works even better for your set up.

  • Door Banner
  •  

seasonal door banner

PRINTED AREA 65x24 INCHES

Simple, Easy Install!

Hanging Instructions
We don't supply the apparatus to connect the banner ends, because everyone's door will be vastly different. It does come with grommets.

Here are some recommendations:
We suggest using very thin bungee cords, twine or a strong thin string through the grommets. You can even use a nice wide ribbon, if you want to dress it up a bit!

You might find some other product that works even better for your set up.

  • Door Banner
  •  

Kindergarten

Make a statement with a custom double sided weatherproof 18 x 24 inch corrugated plastic yard sign! Your sign will include a metal ground stake.

  •  

Full Photo Sports Banner

PRINTED AREA 65x24 INCHES

Simple, Easy Install!

Hanging Instructions
We don't supply the apparatus to connect the banner ends, because everyone's door will be vastly different. It does come with grommets.

Here are some recommendations:
We suggest using very thin bungee cords, twine or a strong thin string through the grommets. You can even use a nice wide ribbon, if you want to dress it up a bit!

You might find some other product that works even better for your set up.

  • Door Banner
  •  

Photo Collage

PRINTED AREA 65x24 INCHES

Simple, Easy Install!

Hanging Instructions
We don't supply the apparatus to connect the banner ends, because everyone's door will be vastly different. It does come with grommets.

Here are some recommendations:
We suggest using very thin bungee cords, twine or a strong thin string through the grommets. You can even use a nice wide ribbon, if you want to dress it up a bit!

You might find some other product that works even better for your set up.

  • Door Banner
  •  

commercial yard sign

Make a statement with a custom double sided weatherproof 18 x 24 inch corrugated plastic yard sign! Your sign will include a metal ground stake.

  •  
  •  
  •  
  •  
  •  
  •  
  •  
  •  
  •  
  •  
  •  
  •  
  •  
  •  
  •  
  •  
  •  
  •  
  •  
  •  
  •  
  •  
  •  
  •  
  •  

Designer Series




Your decal is custom made to your specifications.


Use the available text boxes to type the exact information you would like to be used on your decal. This includes all punctuation, abbreviations and capitalization. We use this exact text to format your custom decal. Please use classic characters as we can not accommodate the use of emojis. Although we do not have a character limit, we will reformat the text as necessary.

If you would like to see a preview of your order before production, please make that selection above. Remember to use an email at checkout which you check frequently. Once a proof is requested, we will wait for your approval before proceeding with your order. Your response time will greatly impact production/shipping times.

Our decals are created to go on the outside of your vehicle. They are semi-permanent, meaning they can be removed with little to no residue but can not be re-used. They are weather and fade resistant up to 5 years when installed properly following the applications instructions provided with your order. Instructions can also be found here. Care for your decal is simple; avoid ice-scrapers and use non-ammonia based cleaners. If you have any questions, please contact us! We are here to help Monday - Friday 10am - 6pm EST.

 

Thank you for choosing to support our small business!

 

  • Brody, Big Show, Chilet, Lobster, Jocky Shorline, Stop Bullying, WestHouse, Subway, Morning Breeze, Hobo, Legacy, Evereast Serif, Sabaldus-Gotisch, Skitser Cartoon, Built Titling, Want Coffee
  • 6 inch, 8 inch +$2, 10 inch +$4, 12 inch +$6
  • I approve this exact text (punctuation, spelling, & capitalization) to be used on my decal.
  • NO, WHITE TSHIRT - SMALL (+$16), WHITE TSHIRT - MEDIUM (+$16), WHITE TSHIRT - LARGE (+$16), WHITE TSHIRT - X-LARGE (+$16), WHITE TSHIRT - 2XL (+$16), WHITE TSHIRT - 3XL (+$16), ---------------------, BLACK TSHIRT - SMALL (+$16), BLACK TSHIRT - MEDIUM (+$16), BLACK TSHIRT - LARGE (+$16), BLACK TSHIRT - X-LARGE (+$16), BLACK TSHIRT - 2XL (+$16), BLACK TSHIRT - 3XL (+$16), ---------------------, BLACK HOOIDE - SMALL (+$30), BLACK HOOIDE - MEDIUM (+$30), BLACK HOOIDE - LARGE (+$30), BLACK HOOIDE - X-LARGE (+$30), BLACK HOOIDE - 2XL (+$30)
  • No, I do not need a proof., Yes, Send a proof.
  •  
  •  
  •  
  •  
  •  
  •  
  •  
  •  
  •  
  •  
  •  
  •  
  •  
  •  
  •  
  •  
  •  
  •  
  •  
  •  
  •  
  •  
  •  
  •  
  •  

Ribbons




Your decal is custom made to your specifications.


Use the available text boxes to type the exact information you would like to be used on your decal. This includes all punctuation, abbreviations and capitalization. We use this exact text to format your custom decal. Please use classic characters as we can not accommodate the use of emojis. Although we do not have a character limit, we will reformat the text as necessary.

If you would like to see a preview of your order before production, please make that selection above. Remember to use an email at checkout which you check frequently. Once a proof is requested, we will wait for your approval before proceeding with your order. Your response time will greatly impact production/shipping times.

Our decals are created to go on the outside of your vehicle. They are semi-permanent, meaning they can be removed with little to no residue but can not be re-used. They are weather and fade resistant up to 5 years when installed properly following the applications instructions provided with your order. Instructions can also be found here. Care for your decal is simple; avoid ice-scrapers and use non-ammonia based cleaners. If you have any questions, please contact us! We are here to help Monday - Friday 10am - 6pm EST.

 

Thank you for choosing to support our small business!

 

  • 6 in tall, 8 in tall +$2, 10 in tall +$4, 12 intall +$6
  • Brody, Big Show, Chilet, Lobster, Jocky Shorline, Stop Bullying, WestHouse, Subway, Morning Breeze, Hobo, Legacy, Evereast Serif, Sabaldus-Gotisch, Skitser Cartoon, Built Titling, Want Coffee
  • white, black, red, orange, yellow, golden yellow, green, lime green, dark green, teal, baby blue, blue, navy, lavender, purple, pink
  • I approve this exact text (punctuation, spelling, & capitalization) to be used on my decal.
  • NO, WHITE TSHIRT - SMALL (+$16), WHITE TSHIRT - MEDIUM (+$16), WHITE TSHIRT - LARGE (+$16), WHITE TSHIRT - X-LARGE (+$16), WHITE TSHIRT - 2XL (+$16), WHITE TSHIRT - 3XL (+$16), ---------------------, BLACK TSHIRT - SMALL (+$16), BLACK TSHIRT - MEDIUM (+$16), BLACK TSHIRT - LARGE (+$16), BLACK TSHIRT - X-LARGE (+$16), BLACK TSHIRT - 2XL (+$16), BLACK TSHIRT - 3XL (+$16), ---------------------, BLACK HOOIDE - SMALL (+$30), BLACK HOOIDE - MEDIUM (+$30), BLACK HOOIDE - LARGE (+$30), BLACK HOOIDE - X-LARGE (+$30), BLACK HOOIDE - 2XL (+$30)
  • No, I do not need a proof., Yes, Send a proof.

Size Chart

  •  
  •  
  •  
  •  
  •  
  •  
  •  
  •  
  •  
  •  
  •  
  •  
  •  
  •  
  •  
  •  
  •  
  •  
  •  
  •  
  •  
  •  
  •  
  •  
  •  

Guardian Angel Decal




Your decal is custom made to your specifications.


Use the available text boxes to type the exact information you would like to be used on your decal. This includes all punctuation, abbreviations and capitalization. We use this exact text to format your custom decal. Please use classic characters as we can not accommodate the use of emojis. Although we do not have a character limit, we will reformat the text as necessary.

If you would like to see a preview of your order before production, please make that selection above. Remember to use an email at checkout which you check frequently. Once a proof is requested, we will wait for your approval before proceeding with your order. Your response time will greatly impact production/shipping times.

Our decals are created to go on the outside of your vehicle. They are semi-permanent, meaning they can be removed with little to no residue but can not be re-used. They are weather and fade resistant up to 5 years when installed properly following the applications instructions provided with your order. Instructions can also be found here. Care for your decal is simple; avoid ice-scrapers and use non-ammonia based cleaners. If you have any questions, please contact us! We are here to help Monday - Friday 10am - 6pm EST.

 

Thank you for choosing to support our small business!

 

  • 8 in tall, 10 in tall , 12 in tall
  • Brody, Big Show, Chilet, Lobster, Jocky Shorline, Stop Bullying, WestHouse, Subway, Morning Breeze, Hobo, Legacy, Evereast Serif, Sabaldus-Gotisch, Skitser Cartoon, Built Titling, Want Coffee
  • white, black, red, orange, yellow, golden yellow, green, lime green, dark green, teal, baby blue, blue, navy, lavender, purple, pink
  • I approve this exact text (punctuation, spelling, & capitalization) to be used on my decal.
  • NO, WHITE TSHIRT - SMALL (+$16), WHITE TSHIRT - MEDIUM (+$16), WHITE TSHIRT - LARGE (+$16), WHITE TSHIRT - X-LARGE (+$16), WHITE TSHIRT - 2XL (+$16), WHITE TSHIRT - 3XL (+$16), ---------------------, BLACK TSHIRT - SMALL (+$16), BLACK TSHIRT - MEDIUM (+$16), BLACK TSHIRT - LARGE (+$16), BLACK TSHIRT - X-LARGE (+$16), BLACK TSHIRT - 2XL (+$16), BLACK TSHIRT - 3XL (+$16), ---------------------, BLACK HOOIDE - SMALL (+$30), BLACK HOOIDE - MEDIUM (+$30), BLACK HOOIDE - LARGE (+$30), BLACK HOOIDE - X-LARGE (+$30), BLACK HOOIDE - 2XL (+$30)
  • Yes, Send a proof.

Size Chart

  •  
  •  
  •  
  •  
  •  
  •  
  •  
  •  
  •  
  •  
  •  
  •  
  •  
  •  
  •  
  •  
  •  
  •  
  •  
  •  
  •  
  •  
  •  
  •  
  •  

Always In My Heart




Your decal is custom made to your specifications.


Use the available text boxes to type the exact information you would like to be used on your decal. This includes all punctuation, abbreviations and capitalization. We use this exact text to format your custom decal. Please use classic characters as we can not accommodate the use of emojis. Although we do not have a character limit, we will reformat the text as necessary.

If you would like to see a preview of your order before production, please make that selection above. Remember to use an email at checkout which you check frequently. Once a proof is requested, we will wait for your approval before proceeding with your order. Your response time will greatly impact production/shipping times.

Our decals are created to go on the outside of your vehicle. They are semi-permanent, meaning they can be removed with little to no residue but can not be re-used. They are weather and fade resistant up to 5 years when installed properly following the applications instructions provided with your order. Instructions can also be found here. Care for your decal is simple; avoid ice-scrapers and use non-ammonia based cleaners. If you have any questions, please contact us! We are here to help Monday - Friday 10am - 6pm EST.

 

Thank you for choosing to support our small business!

 

  • 8 inches long, 10 inches long, 12 inches long
  • I approve this exact text (punctuation, spelling, & capitalization) to be used on my decal.
  • Yes, Send a proof.

Size Chart

  •  
  •  
  •  
  •  
  •  
  •  
  •  
  •  
  •  
  •  
  •  
  •  
  •  
  •  
  •  
  •  
  •  
  •  
  •  
  •  
  •  
  •  
  •  
  •  
  •  

Signature




Your decal is custom made to your specifications.


Use the available text boxes to type the exact information you would like to be used on your decal. This includes all punctuation, abbreviations and capitalization. We use this exact text to format your custom decal. Please use classic characters as we can not accommodate the use of emojis. Although we do not have a character limit, we will reformat the text as necessary.

If you would like to see a preview of your order before production, please make that selection above. Remember to use an email at checkout which you check frequently. Once a proof is requested, we will wait for your approval before proceeding with your order. Your response time will greatly impact production/shipping times.

Our decals are created to go on the outside of your vehicle. They are semi-permanent, meaning they can be removed with little to no residue but can not be re-used. They are weather and fade resistant up to 5 years when installed properly following the applications instructions provided with your order. Instructions can also be found here. Care for your decal is simple; avoid ice-scrapers and use non-ammonia based cleaners. If you have any questions, please contact us! We are here to help Monday - Friday 10am - 6pm EST.

 

Thank you for choosing to support our small business!

 

  • 10x5 inches, 12x6 inches, 18x8 inches, 22x10 inches, 30x12 inches
  • Brody, Big Show, Chilet, Lobster, Jocky Shorline, Stop Bullying, WestHouse, Subway, Morning Breeze, Hobo, Legacy, Evereast Serif, Sabaldus-Gotisch, Skitser Cartoon, Built Titling, Want Coffee
  • white, black, red, orange, yellow, golden yellow, green, lime green, dark green, teal, baby blue, blue, navy, lavender, purple, pink
  • I approve this exact text (punctuation, spelling, & capitalization) to be used on my decal.
  • Yes, Send a proof.

Size Chart

  •  
  •  
  •  
  •  
  •  
  •  
  •  
  •  
  •  
  •  
  •  
  •  
  •  
  •  
  •  
  •  
  •  

980 Designer Series - Lightweight T-Shirt

  • 100% preshrunk combed ringspun cotton
  • Shoulder-to-shoulder taping
  • Double-needle stitching on sleeves and bottom hem
  • TearAway

  • XS, Small, Medium, Large, X Large, 2X Large, 3X Large
  • Brody, Big Show, Chilet, Lobster, Jocky Shorline, Stop Bullying, WestHouse, Subway, Morning Breeze, Hobo, Legacy, Evereast Serif, Sabaldus-Gotisch, Skitser Cartoon, Built Titling, Want Coffee
  • I approve this exact text (punctuation, spelling, & capitalization) to be used on my decal.
  • No, I do not need a proof., Yes, Send a proof.

Size Chart

Size XS S M L XL 2XL 3XL
Full Body Length 27 28 29 31 32 33
Sleeve Length 8 8.5 9 9.5 10 10.5
Neck Size 17 17.5 18 19 20 21
Body Width 18 20 22 24 26 28
  •  
  •  
  •  
  •  
  •  
  •  
  •  
  •  
  •  
  •  
  •  
  •  
  •  
  •  
  •  
  •  
  •  
  •  
  •  
  •  
  •  
  •  
  •  
  •  
  •  
  •  
  •  

18500 GUARDIAN ANGEL HOODIE

18500 Gildan Adult Heavy BlendTM Hooded Sweatshirt
50/50 blended sweats for comfort and durability. Coordinate: Youth 18500B
Now available up to 5XL • preshrunk 50% cotton/50% polyester • 7.75-oz. • air-jet yarn for softer feel and no pilling • double-lined hood with matching drawstring • double-needle stitching • pouch pocket • 1x1 athletic rib with spandex • quarter-turned to eliminate center crease • Sizes: S-5XL

  • Small, Medium, Large, X Large, 2X Large, 3X Large, 4X Large

Size Chart

Size S M L XL 2XL 3XL 4XL
Chest 40 44 48 52 56 60 64
Length 26 27 28 29 30 31 32
Sleeve Length 33 34 35 36 37 38 39
  •  
  •  
  •  
  •  
  •  
  •  
  •  
  •  
  •  
  •  
  •  
  •  

G125 GUARDIAN ANGEL HOODIE

  • 50% cotton, 50% polyester
  • Pill-resistant air jet yarn
  • 1x1 spandex ribbed cuffs and waistband
  • Double-needle stitched pouch pocket
  • Fully coverseamed

  • Small, Medium, Large, X Large, 2X Large, 3X Large
  • Brody, Big Show, Chilet, Lobster, Jocky Shorline, Stop Bullying, WestHouse, Subway, Morning Breeze, Hobo, Legacy, Evereast Serif, Sabaldus-Gotisch, Skitser Cartoon, Built Titling, Want Coffee
  • I approve this exact text (punctuation, spelling, & capitalization) to be used on my decal.
  • No, I do not need a proof., Yes, Send a proof.

Size Chart

Size S M L XL 2XL 3XL
Full Body Length 27 28 29 30 31 32
Sleeve Length 35 36 37 38 39 40
Body Width 20 22 24 26 28 30